In questi giorni il nuovo Kinect per xbox sta veramente spopolando. La Microsoft infatti è riuscita a vendere 1 milione di unità in soli 10 giorni e chiunque abbia avuto modo di provarlo sostiene che garantisce un’accuratissima e divertentissima esperienza di gioco.
Il Kinect trasforma l’intero giocatore in un controller e tutti i movimenti del corpo vengono riprodotti sullo schermo del televisore. A quanto pare anche Apple sembra interessata alla tecnica di funzionamento del Kinect ed ha depositato alcuni brevetti per realizzare qualcosa di simile.
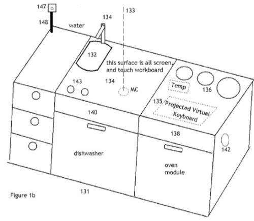
Rispetto alla Microsoft, Apple è più orientata a qualcosa che possa fondere il Touch-Screen alla realtà virtuale che si ottiene con il Kinect, ottenendo qualcosa di nuovo ed ancora più sorprendente, alla Minority Report.
Per chi non lo sapesse, il Kinect è dotato di telecamera RGB, doppio sensore di profondità a raggi infrarossi composto da un proiettore a infrarossi e da una telecamera sensibile alla stessa banda. Dispone anche di quattro microfoni che, puntanti in direzioni diverse, vengono utilizzati dal sistema per la calibrazione dell’ambiente in cui ci si trova, tenendo conto del modo in cui il suono rimbalza sulle pareti e sui mobili. La barra del Kinect è motorizzata lungo l’asse verticale e segue i movimenti dei giocatori, orientandosi nella posizione migliore per il riconoscimento dei movimenti.
Di fatto, la periferica permette all’utente di interagire con la console senza l’uso di alcun controller da impugnare, ma solo attraverso i movimenti del corpo, i comandi vocali o attraverso gli oggetti presenti nell’ambiente.
Pensate cosa potrebbe realizzare Apple se decidesse di aprire la Apple TV ai giochi e alle applicazioni attraverso un’App Store “speciale”, sfornando anche giochi in grado di funzionare su una tecnologia simile! Per il momento siamo tra il sogno e la realtà.. vedremo se l’azienda di Cupertino riuscirà a stupirci ancora in futuro o se si tratta soltanto di brevetti depositati al fine di preservare alcune scoperte in questo campo. L’unica cosa certa è che il Kinect per xBox 360 è già tra noi, e se avete la possibilità di acquistarlo o di provarlo, vi invito a farlo perchè è veramente divertente!
Via | Razorianfly
- Filtra:
- Tutte
- Apple
- Minimo Storico
- Accessori e parti di ricambio
- Accessori per telefoni e telecomunicazioni
- Alimentari e cura della casa
- Amazon
- Attrezzature e forniture per servizi di ristorazione
- Auto e moto
- Bellezza
- Cancelleria e prodotti per ufficio
- Casa e cucina
- Commercio
- Decorazioni per il giardino
- Dispositivi amazon
- Elettronica
- Fai da te
- Giardino e giardinaggio
- Giochi e giocattoli
- Grandi elettrodomestici
- Igiene dentale
- Illuminazione
- Informatica
- Kindle store
- Libri
- Moda
- Prima infanzia
- Prodotti per animali domestici
- Prodotti per la costruzione
- Pulizia e cura della casa
- Salute e cura della persona
- Sport e tempo libero
- Strumenti musicali
- Videogiochi












































































































































































































































































































































































































































































































































































































































































































































































































































































































































































































































































































































































































































































































































































































































































































































































































Leggi o Aggiungi Commenti