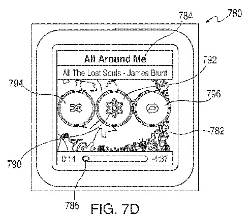
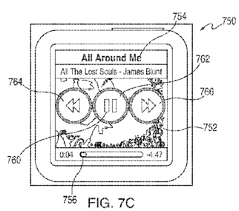
Nella giornata di oggi abbiamo scoperto un nuovo brevetto passato inosservato e depositato da Apple nel giugno del 2009, che suggerisce il supporto di gesture finalizzate all’uso dei dispositivi in situazioni nelle quali gli utenti non osservano il display.
Un problema molto frequente per i dispositivi touchscreen è quello dell’impossibilità di controllare alcune funzioni senza dare un’occhiata al display, quello che è invece possibile fare con dispositivi dotati di tasti fisici.
Il sistema proposto nel brevetto consente di superare questo limite attraverso gesture che non richiedono un’interazione visuale, nel caso dell’iPod nano include dei pulsanti statici (Play/Pausa, Traccia Successiva, Traccia Precedente) e anche delle gesture speciali, come ad esempio quella del movimento circolare per gestire il volume.
Potrebbe risultare veramente utili poter usufruire di queste novità, in modo da controllare la nostra musica anche con il dispositivo in tasca.
Via | MelaBlog
- Filtra:
- Tutte
- Apple
- Minimo Storico
- Accessori e parti di ricambio
- Accessori per telefoni e telecomunicazioni
- Alimentari e cura della casa
- Amazon
- Attrezzature e forniture per servizi di ristorazione
- Auto e moto
- Bellezza
- Cancelleria e prodotti per ufficio
- Casa e cucina
- Commercio
- Decorazioni per il giardino
- Dispositivi amazon
- Elettronica
- Fai da te
- Giardino e giardinaggio
- Giochi e giocattoli
- Grandi elettrodomestici
- Igiene dentale
- Illuminazione
- Informatica
- Kindle store
- Libri
- Moda
- Prima infanzia
- Prodotti per animali domestici
- Prodotti per la costruzione
- Pulizia e cura della casa
- Salute e cura della persona
- Sport e tempo libero
- Strumenti musicali
- Videogiochi









































































































































































































































































































































































































































































































































































































































































































































































































































































































































































































































































































































































































































































































































































































































































































































































































Leggi o Aggiungi Commenti