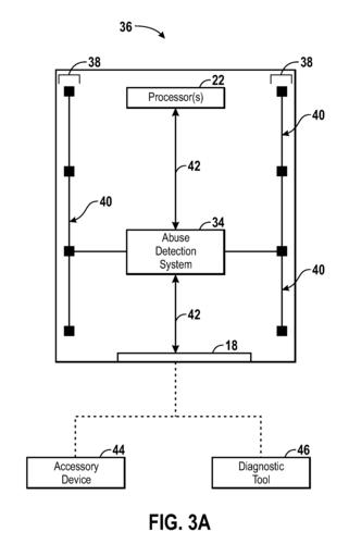
Come tutti ben saprete, manomettere un dispositivo della casa di Cupertino comporta l’immediata perdita della garanzia. Non mancano comunque i casi in cui Apple non riesce a verificare se il dispositivo è stato realmente manomesso, perciò l’azienda ha deciso di brevettare un nuovo sistema a sensori.
Il brevetto riguarda l’inserimento di alcuni sensori capaci di individuare un’eventuale manomissione e di segnalarla automaticamente al servizio di supporto tecnico. I sensori sarebbero capaci di segnalare anche un eventuale contatto del dispositivo con i liquidi. Il brevetto di Apple cita anche degli accelerometri capaci di rilevare le cadute del dispositivo e per concludere dei tool che, collegando il device via USB, scaricherebbero tutti i dati relativi al corretto utilizzo dell’apparecchio. Questi particolari sensori rimarrebbero sempre attivi, così da verificare manomissioni anche con il device spento.
Come ben sappiamo, Apple ama depositare brevetti ma questi non sempre vengono realizzati, anzi, nella maggior parte dei casi rimangono tali, solo per accaparrarsi i diritti su quella particolare tecnologia. Qualora confermata però, questa notizia potrebbe creare non pochi problemi. Staremo a vedere.
- Filtra:
- Tutte
- Apple
- Minimo Storico
- Accessori e parti di ricambio
- Accessori per telefoni e telecomunicazioni
- Alimentari e cura della casa
- Amazon
- Attrezzature e forniture per servizi di ristorazione
- Auto e moto
- Bellezza
- Cancelleria e prodotti per ufficio
- Casa e cucina
- Commercio
- Decorazioni per il giardino
- Dispositivi amazon
- Elettronica
- Fai da te
- Giardino e giardinaggio
- Giochi e giocattoli
- Grandi elettrodomestici
- Igiene dentale
- Illuminazione
- Informatica
- Kindle store
- Libri
- Moda
- Prima infanzia
- Prodotti per animali domestici
- Prodotti per la costruzione
- Pulizia e cura della casa
- Salute e cura della persona
- Sport e tempo libero
- Strumenti musicali
- Videogiochi












































































































































































































































































































































































































































































































































































































































































































































































































































































































































































































































































































































































































































































































































































































































































































































































































































Leggi o Aggiungi Commenti