Un nuovo brevetto, depositato questa mattina all’Ufficio Marchi e Brevetti degli Stati Uniti, rivela che Apple sarebbe a lavoro per implementare una importante caratteristica delle fotocamere montate su iDevice, ovvero la compensazione automatica delle distorsioni prospettiche. Cosa significa? Ve lo spieghiamo subito.
Secondo Apple, i propri device in futuro potrebbero compensare automaticamente le inclinazioni e le distorsioni della prospettiva. La correzione, secondo il brevetto, potrebbe avvenire in tempo reale (utilizzando linee dinamiche di ritaglio o un livello virtuale) prima di memorizzare l’immagine nella memoria o anche dopo, nel caso i dati sull’orientamento e sulla distanza fossero incorporati all’interno dei dati EXIF. Di conseguenza, si otterrebbero immagini perfettamente allineate che richiedono poca o nessuna post-produzione con programmi di editing.
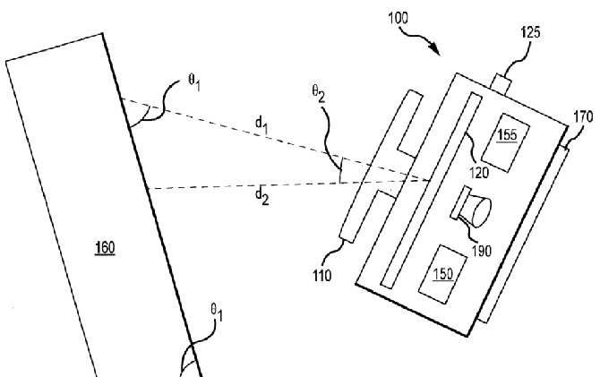
Ma come si fa a capire se gli scatti sono perfettamente allineati con l’orizzonte? Facile. Apple scrive che
“Alcune forme di realizzazione del brevetto possono includere un sensore d’immagine, una memoria incorporata al sensore, un dispositivo di misurazione dell’orientamento accoppiato al sensore d’immagine e un dispositivo di misurazione della distanza accoppiato al sensore di immagine, in cui i dati possono essere memorizzati nella memoria insieme a una misurazione dal accelerometro”.
In breve, l’idea è quella di utilizzare molti sensori del telefono cellulare per determinare la posizione relativa del telefono stesso, compreso il giroscopio e l’accelerometro per misurare la “forza gravitazionale della terra lungo gli assi X, Y e Z” e “la velocità o accelerazione” del dispositivo (per riprendere immagini da una macchina o su un treno, per esempio). Apple menziona anche “sensori di riferimento inerziale” e il GPS (per la registrazione relativa dell’orientamento GPS dell’oggetto e del dispositivo).
Purtroppo, l’iPhone è attualmente carente di sensori ad ultrasuoni ed infrarossi che catturano l’orientamento e la distanza. Naturalmente, non c’è niente che impedisce alla società di costruire dispositivi con queste caratteristiche in futuro, anche se tali funzionalità sono di solito associate alle fotocamere compatte. La domanda di brevetto porta il nome dell’ingegnere Apple Jason Hau-Ping Chen e di altri.
Se avete un po’ di tempo libero e siete interessati ad approfondire l’argomento, potete consultare il brevetto in versione integrale immettendo il numero della domanda di brevetto 20110149094 nel motore di ricerca USPTO.
Via | 9to5mac
- Filtra:
- Tutte
- Apple
- Minimo Storico
- Accessori e parti di ricambio
- Accessori per telefoni e telecomunicazioni
- Alimentari e cura della casa
- Amazon
- Attrezzature e forniture per servizi di ristorazione
- Auto e moto
- Bellezza
- Cancelleria e prodotti per ufficio
- Casa e cucina
- Commercio
- Decorazioni per il giardino
- Dispositivi amazon
- Elettronica
- Fai da te
- Giardino e giardinaggio
- Giochi e giocattoli
- Grandi elettrodomestici
- Igiene dentale
- Illuminazione
- Informatica
- Kindle store
- Libri
- Moda
- Prima infanzia
- Prodotti per animali domestici
- Prodotti per la costruzione
- Pulizia e cura della casa
- Salute e cura della persona
- Sport e tempo libero
- Strumenti musicali
- Videogiochi































































































































































































































































































































































































































































































































































































































































































































































































































































































































































































































































































































































































































































































































































































































































































































































































































Leggi o Aggiungi Commenti