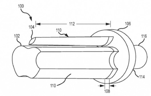
Tra gli infiniti brevetti depositati da Apple, poteva mai mancarne uno relativo allo strumento utilizzato per ricavare il proprio caratteristico logo con la mela morsicata sui suoi dispositivi? Ovviamente no ed è venuto alla luce proprio oggi. Prende il nome di “Apparato e Metodo per tagli complessi” e si trova nel database dell’Ufficio Brevetti e Trademarks degli Stati Uniti.
Dopo aver dato un’occhiata allo strumento qui in alto, è probabile che vi starete chiedendo: “Ma perchè realizzare un dispositivo proprietario così complesso per la semplice necessità di imprimere una forma in un materiale, qualsiasi esso sia?”.
La risposta a questa domanda arriva dalla stessa Apple, che fa notare che le tecniche tradizionali come la lavorazione a macchina non sono adatte per dar vita a forme dagli angoli così ben definiti (ci riferiamo al logo della società di Cupertino), dal momento che, per di più, sarebbe un processo alquanto costoso.
Altri metodi di taglio, come la fresatura CNC o l’incisione ad acqua o a laser potrebbero non fornire delle curve, delle linee perfettamente definite ad un prezzo ragionevole.
Inoltre, i processi di tranciatura o di impressione darebbero al prodotto finito un aspetto inaccettabile, con esposizione delle fibre del materiale soggetto al taglio.
Dopo aver spiegato i motivi della realizzazione di uno strumento del genere, Apple passa a descrivere il metodo di utilizzo nei dettagli (che tralasciamo poichè decisamente tecnici); nel caso, tuttavia, desideriate consultare il brevetto completo, vi basterà inserire il numero identificativo 20110183580 nel motore di ricerca USPTO.
L’importanza della questione risiede soprattutto nel fatto che una grande compagnia si faccia notare in particolare nelle piccolezze, nei dettagli, che, una volta messi insieme, daranno certamente vita ad un prodotto di ottima fattura.
Piccola giustifica al prezzo degli iDevices, magari?
Via | 9to5Mac
⏰ Le offerte di oggi non sono ancora disponibili.
Di seguito ti proponiamo le migliori offerte pubblicate ieri (ed ancora valide):
- Filtra:
- Tutte
- Apple
- Minimo Storico
- Alimentari e cura della casa
- Amazon
- Bellezza
- Cancelleria e prodotti per ufficio
- Casa e cucina
- Commercio
- Dispositivi amazon
- Dispositivi amazon & accessori
- Elettronica
- Fai da te
- Giochi e giocattoli
- Grandi elettrodomestici
- Illuminazione
- Informatica
- Kindle store
- Moda
- Prima infanzia
- Prodotti per animali domestici
- Salute e cura della persona
- Sport e tempo libero
- Videogiochi














































































































































































































































































































Leggi o Aggiungi Commenti