Oggi veniamo a conoscenza di un nuovo brevetto targato Apple che dimostra l’interesse della società nello sviluppare la ricarica senza fili senza l’utilizzo di basette, ma una ricarica nell’etere entro 1 metro di distanza della fonte di energia.
Abbiamo già sentito parlare in passato di ricariche ad induzione, come quella che sta adottando Nokia, ma finora non si può ancora parlare di ricarica “senza fili”, perché in realtà il filo c’è, quello che cambia è il collegamento col dispositivo, cioè il dispositivo viene poggiato ad una basetta la quale è collegata tramite un filo alla corrente.
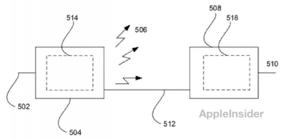
Questo brevetto invece fa riferimento ad una tecnologia che prevedere due elementi, il trasmettitore e il ricevitore, e il trasferimento di energia tra i due avviene grazie alla risonanza tra campi magnetici adiacenti, o detto in parole più semplici: senza fili.
Secondo quanto riportato, questa tipologia di ricarica è adeguata solo nel caso in cui il dispositivo richieda una bassa quantità di elettricità e non per dispositivi che hanno bisogno di diversi Watt o addirittura centinaia.
Se Apple riuscisse a sfruttare questa tecnologia, potrebbe cambiare il modo in cui noi concepiamo la ricarica dell’iPhone o magari anche di altri dispositivi. La ricarica potrebbe avvenire anche senza poggiare il dispositivo su un altro elemento e questo eliminerebbe effettivamente il filo, perché sarebbe sufficiente collegare l’ “elemento alimentatore” alla corrente. Per non parlare della possibilità di collegare questo “elemento alimentatore” ad una porta USB oppure ad una batteria esterna portatile.
Naturalmente non ci aspettiamo novità a breve sotto questo punto di vista, perché saranno innumerevoli le problematiche legate ad un prodotto del genere, ma sapere che Apple mostra un certo interesse incuriosisce non poco.
Qual’è la vostra opinione su un prodotto del genere?
Via | AppleInsider
- Filtra:
- Tutte
- Apple
- Minimo Storico
- Accessori e parti di ricambio
- Accessori per telefoni e telecomunicazioni
- Alimentari e cura della casa
- Attrezzature e forniture per servizi di ristorazione
- Auto e moto
- Bellezza
- Cancelleria e prodotti per ufficio
- Casa e cucina
- Commercio
- Decorazioni per il giardino
- Dispositivi amazon
- Elettronica
- Fai da te
- Giardino e giardinaggio
- Giochi e giocattoli
- Grandi elettrodomestici
- Igiene dentale
- Illuminazione
- Informatica
- Kindle store
- Libri
- Moda
- Prima infanzia
- Prodotti per animali domestici
- Prodotti per la costruzione
- Pulizia e cura della casa
- Salute e cura della persona
- Sport e tempo libero
- Strumenti musicali
- Videogiochi



















































































































































































































































































































































































































































































































































































































































































































































































































































































































































































































































































































































































































































































































































































































































































Leggi o Aggiungi Commenti