Apple sta esplorando l’uso di un accessorio che consentirebbe a due iPad di connettersi insieme per ricreare un’esperienza in stile notebook.
La domanda di brevetto intitolata “Dispositivi elettronici a display multiplo modulare“, depositata oggi presso l’Ufficio brevetti e marchi degli Stati Uniti, spiega che quando due iPad o iPhone sono collegati insieme tramite questo speciale accessorio, uno potrebbe essere utilizzato come display e l’altro come tastiera dinamica.
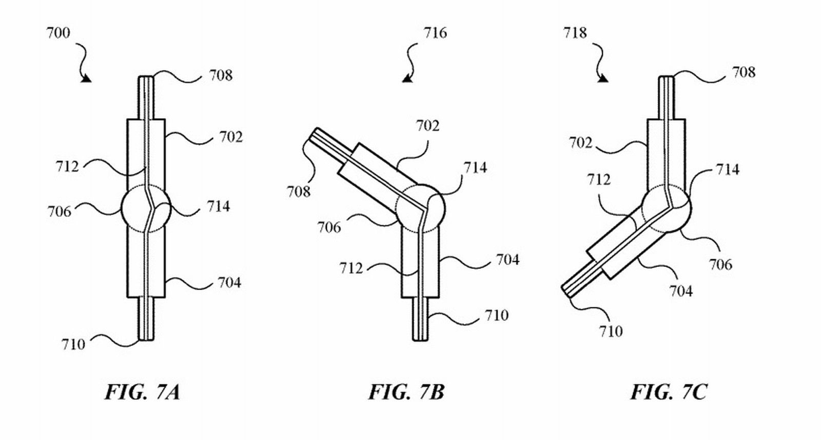
L’accessorio, è costituito da due piccoli connettori e una cerniera, con i dispositivi mobili che si fissano meccanicamente su entrambi i lati. Il connettore faciliterebbe il trasferimento di dati tra i dispositivi, per far si che funzionino all’unisono come un unico sistema.

Oltre alla configurazione in stile notebook, il brevetto suggerisce che se due dispositivi potrebbero essere collegati lungo i bordi più lunghi ed essere utilizzati anche in una “configurazione in stile libro“.

Il concetto non si basa necessariamente sull’utilizzo di due dispositivi di dimensioni simili, in quanto è possibile utilizzare anche un iPhone ed un iPad insieme.
Cosa ne pensate?
- Filtra:
- Tutte
- Apple
- Minimo Storico
- Accessori e parti di ricambio
- Accessori per telefoni e telecomunicazioni
- Alimentari e cura della casa
- Amazon
- Attrezzature e forniture per servizi di ristorazione
- Auto e moto
- Bellezza
- Cancelleria e prodotti per ufficio
- Casa e cucina
- Commercio
- Decorazioni per il giardino
- Dispositivi amazon
- Elettronica
- Fai da te
- Giardino e giardinaggio
- Giochi e giocattoli
- Grandi elettrodomestici
- Igiene dentale
- Illuminazione
- Informatica
- Kindle store
- Libri
- Moda
- Prima infanzia
- Prodotti per animali domestici
- Prodotti per la costruzione
- Pulizia e cura della casa
- Salute e cura della persona
- Sport e tempo libero
- Strumenti musicali
- Videogiochi



































































































































































































































































































































































































































































































































































































































































































































































































































































































































































































































































































































































































































































































































































































































































































































































































































































Leggi o Aggiungi Commenti