Apple intende portare nuove funzionalità di Continuity sul suo imminente visore AR/VR che renderà il passaggio tra dispositivi e spazi di lavoro virtuali un’esperienza senza soluzione di continuità.
Per chiunque non abbia familiarità con il termine, Continuity è il modo con cui Apple descrive tutti i modi in cui i dispositivi nel suo ecosistema comunicano in modo intercambiabile, consentendo agli utenti di passare da uno all’altro senza interrompere ciò che stanno facendo.
Handoff, ad esempio, ci consente di iniziare a lavorare su un dispositivo, quindi passare a un altro dispositivo nelle vicinanze e riprendere da dove avevamo interrotto nella stessa app. Altri esempi di funzionalità di Continuity sono AirPlay su Mac, Sidecar, Controllo Universale e Fotocamera Continuity.
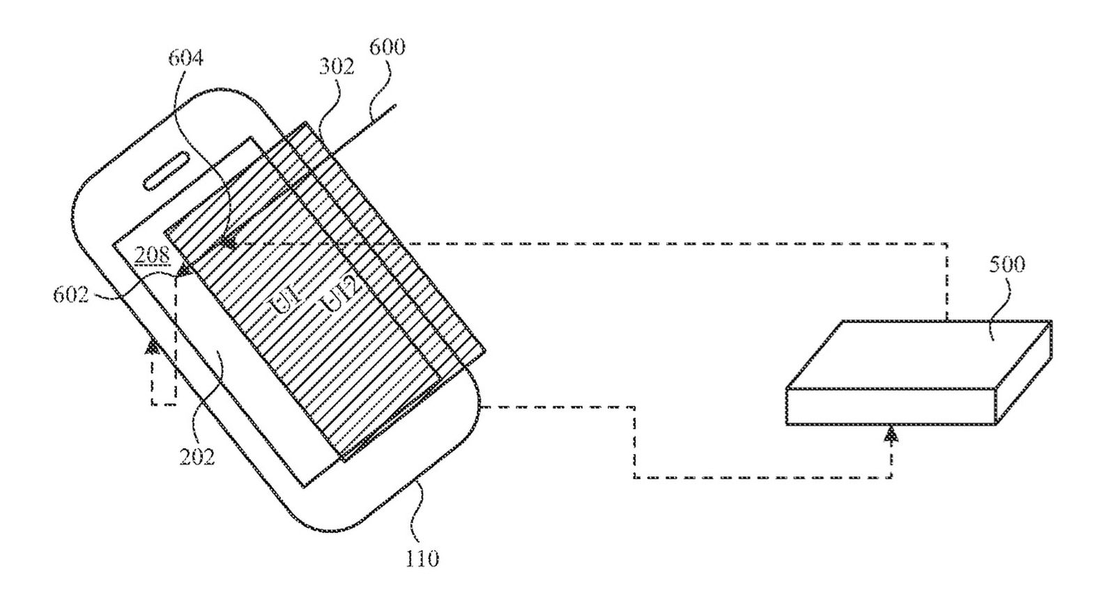
La scorsa settimana, l’Ufficio europeo dei brevetti ha pubblicato una domanda di brevetto di Apple intitolata “Multi-Device Continuity for use with Extended Reality (XR) Systems”, in cui la società offre alcuni esempi di come prevede funzionerà l’interoperabilità simile a Handoff tra il visore SR/VR e altri dispositivi Apple.

In un esempio, Apple descrive uno scenario in cui un utente che indossa il visore guarda un’e-mail sullo schermo di un iPhone, dopodiché una replica virtuale dell’interfaccia dell’app Mail viene sovrapposta al display dell’iPhone. Con un gesto della mano o un cambio di sguardo, l’utente trasferisce quindi l’e-mail sul display virtuale più grande sospeso nel proprio ambiente e continua a scrivere tramite il rilevamento dei movimenti delle dita da parte delle telecamere del dispositivo.
In un altro esempio, mentre un brano viene riprodotto in un’app multimediale sul proprio iPhone, l’utente fa un gesto o guarda un HomePod nella stessa stanza e, così facendo, trasferisce la riproduzione musicale allo smart speaker in modo continuo e ininterrotto, senza avvicinarsi fisicamente al dispositivo.

Apple descrive anche un’altra implementazione in cui, invece di passare da un display fisico a uno virtuale, il visore aumenta le dimensioni di un Mac posizionando “finestre accessorie” vicino ma al di fuori dei confini del display in un “ambiente di realtà estesa”.
Al momento non è chiaro fino a che punto Apple spingerà inizialmente la funzione Continuity con il suo visore AR/VR, ma gli esempi mostrati nel brevetto forniscono una chiara idea di ciò che l’azienda intende offrire.
- Filtra:
- Tutte
- Apple
- Minimo Storico
- Alimentari e cura della casa
- Apparecchi diagnostici e di monitoraggio
- Auto e moto
- Bellezza
- Cancelleria e prodotti per ufficio
- Casa e cucina
- Commercio
- Dispositivi amazon
- Elettronica
- Fai da te
- Giardino e giardinaggio
- Giochi e giocattoli
- Grandi elettrodomestici
- Igiene dentale
- Illuminazione
- Iluminación
- Informatica
- Kindle store
- Moda
- Prima infanzia
- Prodotti per animali domestici
- Rasatura
- Salute e cura della persona
- Spazzolini da denti e accessori
- Sport e tempo libero
- Strumenti musicali
- Videogiochi











































































































































































































































































































































































































































































































































































































































































































































































































































































































































Leggi o Aggiungi Commenti