La nascita e lo sviluppo degli smartphone ha sicuramente cambiato le nostre abitudini quotidiane, rivoluzionando il mondo della tecnologia. Una pecca che però si è presentata proprio con l’avvento di questi super cellulari è la loro fragilità; ed è proprio a questo che Amazon vuole porre rimedio, attraverso un progetto dall’azienda recentemente ideato.
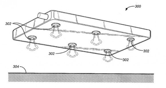
Il brevetto si riferisce non proprio ad un airbag, bensì a dei piccoli fori, posti nella parte posteriore del telefono, che nel momento della caduta attiveranno un getto d’aria tale da eliminare, o ridurre, le conseguenze dell’impatto. Grazie alla spinta dei getti, il telefono verrà deviato dalla traiettoria d’impatto poco prima di toccare terra, “atterrando”, così, in modo lento e dolce.
Questo progetto, intrapreso dal CEO di Amazon, Jeff Bezos e dall’ingegnere Greg Hart, è sicuramente un’ottima iniziativa, ma la domanda che si stanno ponendo in molti è se questa funzione potrà essere applicata ad altri smartphone. Greg difficilmente cederà un tale brevetto, creando, forse, un telefono anti-caduta targato esclusivamente Amazon.
Via | NBCNews
- Filtra:
- Tutte
- Apple
- Minimo Storico
- Alimentari e cura della casa
- Amazon
- Auto e moto
- Bellezza
- Cancelleria e prodotti per ufficio
- Casa e cucina
- Commercio
- Dispositivi amazon
- Dispositivi amazon & accessori
- Elettronica
- Fai da te
- Giardino e giardinaggio
- Giochi e giocattoli
- Grandi elettrodomestici
- Igiene dentale
- Illuminazione
- Informatica
- Moda
- Prima infanzia
- Prodotti per animali domestici
- Salute e cura della persona
- Sport e tempo libero
- Strumenti musicali
- Videogiochi
































































































































































































































































































































































































































































































































































































































































































































































































Leggi o Aggiungi Commenti