La custodia delle AirPods, oltre alla normale funzione di ricarica, potrebbe “presto” trasformarsi in una cassa Bluetooth.
Questo è quello che emerge da un brevetto depositato recentemente da Cupertino nel quale si legge:
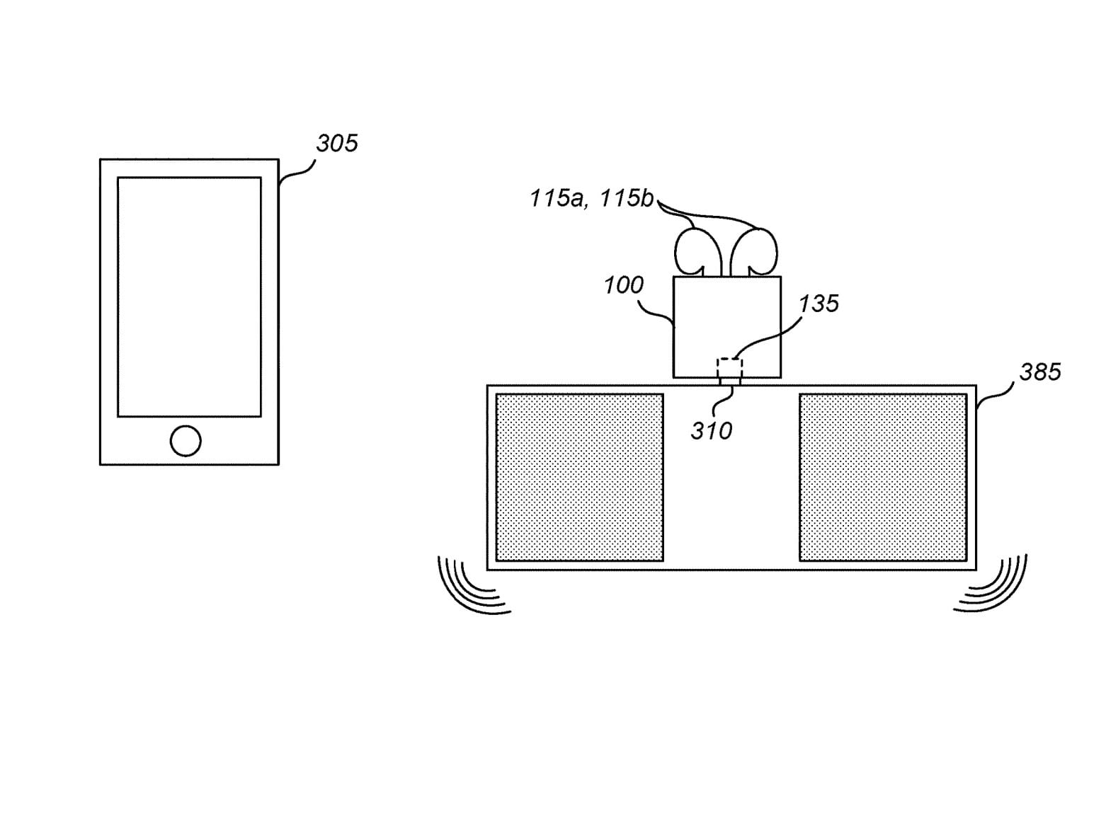
Un case per un dispositivo di ascolto elettronico wireless (ad esempio, una coppia di auricolari wireless) è configurato per alloggiare un paio di auricolari wireless e caricare gli auricolari quando sono nel case. Il case è poi ulteriormente configurato per ricevere l’audio ricevuto dagli auricolari wireless e, trasmetterlo ad un sistema audio non wireless connesso al case.
Secondo il brevetto sarebbe quindi possibile trasformare il case delle AirPods in un sistema di ricezione Bluetooth.
Il sistema potrebbe funzionare anche nel modo inverso. Una custodia AirPods collegata ad un sistema audio esistente potrebbe inviare l’audio direttamente agli auricolari attraverso il Bluetooth. Sul case potrebbero essere inseriti alcuni tasti per la riproduzione.
⏰ Le offerte di oggi non sono ancora disponibili.
Di seguito ti proponiamo le migliori offerte pubblicate ieri (ed ancora valide):










































































































































































































































































































































































































































































































Leggi o Aggiungi Commenti