In un recente rapporto proveniente dalla catena di approvvigionamento coreana, si sostiene che gli ingegneri di Apple Vision Pro siano stati riassegnati al progetto “iPhone Fold” per accelerare lo sviluppo. Tuttavia, i dettagli forniti sollevano qualche dubbio.
Da anni si prevede l’arrivo di un iPhone pieghevole, ma secondo un nuovo rapporto proveniente dalla Corea, sembra che Apple abbia assegnato ingegneri per far sì che ciò accada un po’ prima del previsto.
Un informatore ha rivelato che, grazie a questa mossa, la data di uscita dell’iPhone Fold sarebbe stata anticipata a settembre 2026 anziché all’inizio del 2027.
Tuttavia, sembra improbabile che il team di ingegneri che ha lavorato sull’Apple Vision Pro sia stato spostato in questo modo, considerando che il dispositivo è un prodotto di prima generazione.
Gli ingegneri non sono universali, hanno specializzazioni e aree di studio specifiche. Se i rumors secondo cui l’Apple Vision Pro 2 sarà rilasciato tra circa 18 mesi sono corretti, quel team specializzato lavorerebbe ancora sulla versione più recente del visore della società.
A febbraio sono emerse voci contrastanti sull’iPhone Fold, dopo mesi di silenzio. La prima affermava che Apple stava lavorando su due prototipi, con principali problemi legati alla durata di un display pieghevole e al costo del dispositivo.
L’ultima voce di febbraio è altrettanto dubbia quanto la tempistica nel rapporto di martedì. Tale voce affermava che il progetto era stato cancellato perché la tecnologia dello schermo pieghevole di Samsung, utilizzata da cinque anni, non soddisfaceva gli standard di Apple.
Sebbene l’azienda non ha mai commentato pubblicamente sull’argomento, la ricerca in corso da circa un decennio indica che l’idea è almeno presa in considerazione.
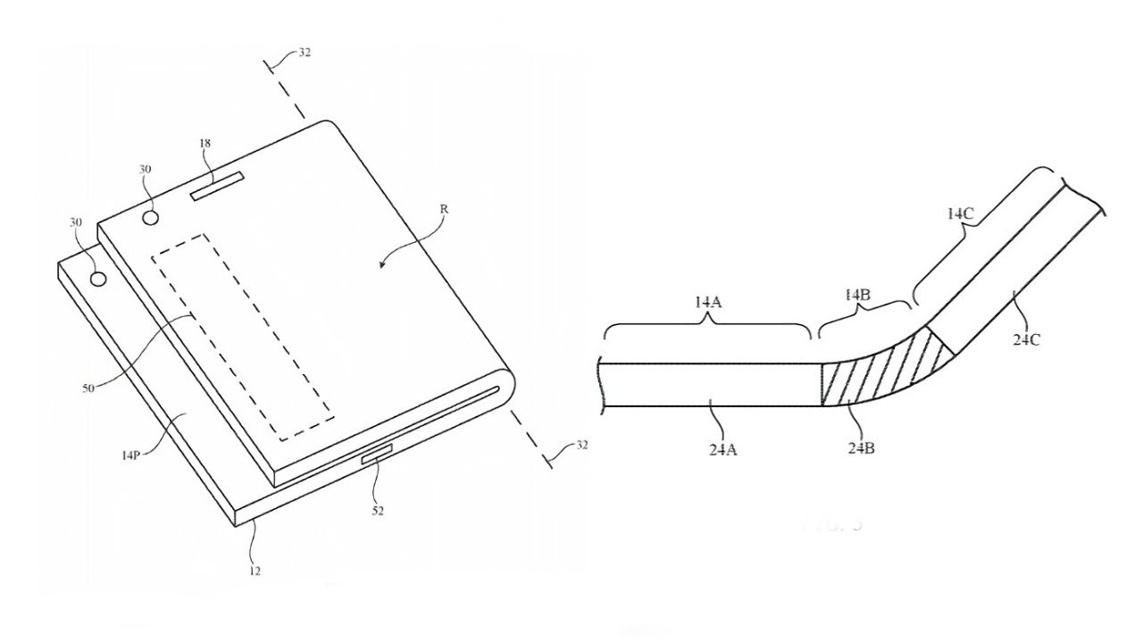
I brevetti mostrano che Apple prevede di superare i problemi segnalati dello schermo con cerniere complesse, nuove tecnologie display e OLED ibrido che non si piega.

Quando totalmente chiuso, lo spessore del dispositivo dovrebbe essere solo leggermente maggiore rispetto agli attuali iPhone, mentre aperto dovrebbe essere simile alle dimensioni dell’iPad mini.
Non è ancora chiaro come Apple ottimizzerà iOS o iPadOS per il dispositivo pieghevole.
- Filtra:
- Tutte
- Apple
- Minimo Storico
- Alimentari e cura della casa
- Bellezza
- Cancelleria e prodotti per ufficio
- Casa e cucina
- Commercio
- Elettronica
- Fai da te
- Film e tv
- Giardino e giardinaggio
- Giochi e giocattoli
- Grandi elettrodomestici
- Illuminazione
- Informatica
- Moda
- Prima infanzia
- Prodotti per animali domestici
- Salute e cura della persona
- Sport e tempo libero
- Videogiochi


















































































































































































































































































































































Leggi o Aggiungi Commenti