Apple, a pochi giorni dalla presentazione dei suoi nuovi iPhone, non smette di investire nell’innovazione. La notizia che trapela quest’oggi infatti è relativa alla concessione di un brevetto per le “Gesture 3D” per dispositivi touchscreen. Ecco i dettagli.
Lo US Patent and Trademark Office (USPTO) ha pubblicato un brevetto Apple nel quale la società mira ad estendere l’input multi-touch presente sui dispositivi touchscreen, anche nello spazio aereo sopra lo schermo. Si tratta di un’interfaccia utente che permette di generare e manipolare oggetti 3D usando un sistema gestuale staccato dallo schermo touch di device come iPhone o iPad.
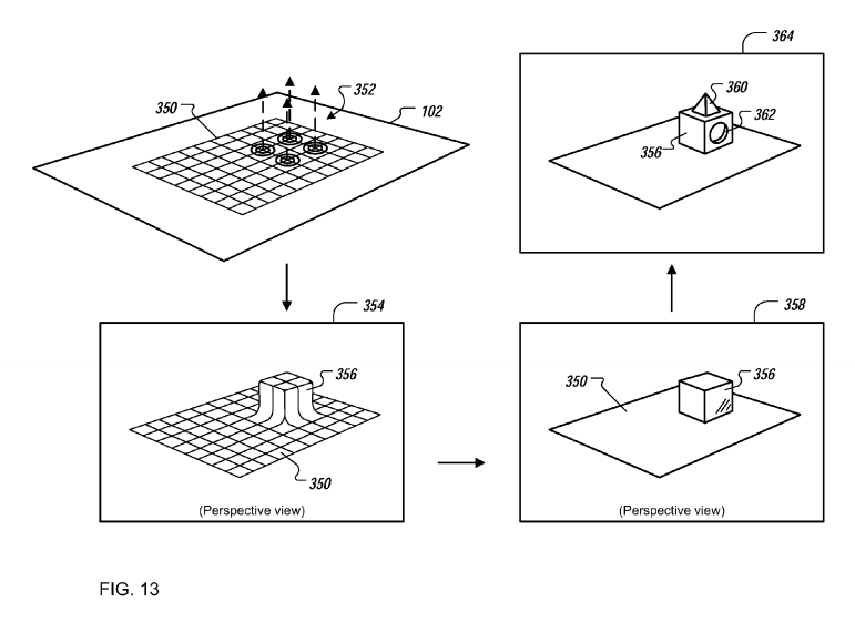
Il brevetto, depositato nel luglio dello scorso anno, è intitolato “Lavorare con gli oggetti 3D“, e descrive un sistema in grado di rilevare sia oggetti 2D in un’interfaccia utente, sia una gesture 3D vicino alla superficie dello schermo del dispositivo, che quindi genera un oggetto tridimensionale il quale viene visualizzato nell’interfaccia utente del device.
Stando a quanto riportato nel brevetto, il dispositivo sarebbe in grado di rilevare la posizione delle dita dell’utente usando una combinazione di sensori capacitivi e di prossimità situati nel display. La nuova tecnologia lavorerà in perfetta simbiosi con gli attuali controlli touch, e consentirà agli utenti di “staccare” fisicamente le dita dallo schermo per ricavare un oggetto tridimensionale da uno bidimensionale (come accade nella maggior parte dei programmi CAD attuali).
Altri impieghi per la nuova tecnologia includono la possibilità di utilizzare gesti 3D per scolpire materiali argillosi virtuali e per modificare parametri come ombre, luminosità, texture e altro ancora. Il brevetto può segnare una mossa davvero importante da parte della società di Cupertino per spingere l’iPad ad un nuovo livello, ovvero quello di un dispositivo creativo che può essere utilizzato in una varietà di settori, tra cui il Computer-Aided Design (CAD).
Voi cosa ne pensate di queste gesture 3D?
Via | MacRumors
- Filtra:
- Tutte
- Apple
- Minimo Storico
- Alimentari e cura della casa
- Amazon
- Auto e moto
- Bellezza
- Cancelleria e prodotti per ufficio
- Casa e cucina
- Commercio
- Dispositivi amazon
- Dispositivi amazon & accessori
- Elettronica
- Fai da te
- Giardino e giardinaggio
- Giochi e giocattoli
- Grandi elettrodomestici
- Igiene dentale
- Illuminazione
- Informatica
- Moda
- Prima infanzia
- Prodotti per animali domestici
- Salute e cura della persona
- Sport e tempo libero
- Strumenti musicali
- Videogiochi




















































































































































































































































































































































































































































































































































































































































































































Leggi o Aggiungi Commenti