E’ da moltissimo che si parla del riconoscimento facciale implementato sui dispositivi iOS, ma oggi Patently Apple svela un nuovo brevetto che descrive proprio la tecnica di identificazione e riconoscimento dei volti applicata ad una funzionalità per iPhone ed iPad.
Le tecniche di face detection sono oramai diffusissime ed applicate nei più svariati ambiti, dalle fotocamere compatte ad i motori di ricerca. Apple ha pubblicato già nel 2009 e nel mese di Novembre dei brevetti che sfruttano questa tecnologia, ma oggi l’ufficio statuitense US Patent & Trademark ha pubblicato una nuova applicazione di questa tecnologia.
I sistemi di riconoscimento facciale attuali possono essere divisi in due categorie: la prima di queste è robusta rispetto ad i cambiamenti di luce, alle diverse inquadrature e alla vicinanza del soggetto, ma richiede una potenza di calcolo abbastanza elevata; la seconda categoria invece, adottata nei sistemi di sicurezza, lavora bene solo sotto determinate condizioni di luce, ma non necessita di eccessive risorse.
Per la face detection sui dispositivi mobili non va bene nessuna delle due tipologie sopracitate, poiché la fotocamera di un dispositivo mobile può trovarsi in svariate condizioni di luce ed in innumerevoli posizioni diverse, tuttavia non deve consumare eccessivamente la batteria dei dispositivi.
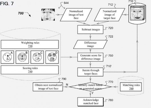
Il metodo proposto nel brevetto prevede un elaboratore di immagini che compara la foto scattata con un sottoinsieme di riferimento. Questi modelli di riferimento includono informazioni circa la posizione e il tipo di occhi, di naso e di bocca. Per riconoscere il soggetto fotografato, l’elaboratore può prendere in considerazione la posizione degli occhi oppure la distanza tra gli occhi e la bocca. Il soggetto viene riconosciuto se la differenza tra le informazioni ricavate dalla foto scattata e quelle della foto di riferimento sono minime.
In questo modo il riconoscimento facciale è indipendente dai colori della foto che cambiano a seconda dell’illuminazione, dalla vicinanza del soggetto o dall’inclinazione della fotocamera. Inoltre questo riconoscimento dei lineamenti dovrebbe evitare il sovraccarico dei dispositivi mobili.
Le applicazioni mostrate nel brevetto descrivono un utente che si avvicina al dispositivo, che potrebbe anche essere spento ma con la fotocamera funzionante, e riesce ad accenderlo posizionandosi semplicemente davanti alla fotocamera del dispositivo. In altre implementazioni il dispositivo potrebbe riconoscere i componenti di un famiglia e visualizzare messaggi o informazioni diverse a seconda della persona che sta usando il device.
Via | PatentlyApple
- Filtra:
- Tutte
- Apple
- Minimo Storico
- Accessori e parti di ricambio
- Accessori per telefoni e telecomunicazioni
- Alimentari e cura della casa
- Amazon
- Attrezzature e forniture per servizi di ristorazione
- Auto e moto
- Bellezza
- Cancelleria e prodotti per ufficio
- Casa e cucina
- Commercio
- Decorazioni per il giardino
- Dispositivi amazon
- Elettronica
- Fai da te
- Giardino e giardinaggio
- Giochi e giocattoli
- Grandi elettrodomestici
- Igiene dentale
- Illuminazione
- Informatica
- Kindle store
- Libri
- Moda
- Prima infanzia
- Prodotti per animali domestici
- Prodotti per la costruzione
- Pulizia e cura della casa
- Salute e cura della persona
- Sport e tempo libero
- Strumenti musicali
- Videogiochi








































































































































































































































































































































































































































































































































































































































































































































































































































































































































































































































































































































































































































































































































































































































































































































































































































Leggi o Aggiungi Commenti