Recentemente Apple ha depositato presso l’US Patent and Trademark Office un brevetto in cui l’azienda spiega come la domotica potrebbe essere utilizzata per tracciare la posizione degli utenti ed utilizzare questi dati per controllare in modo intelligente i dispositivi secondari in un altro locale.

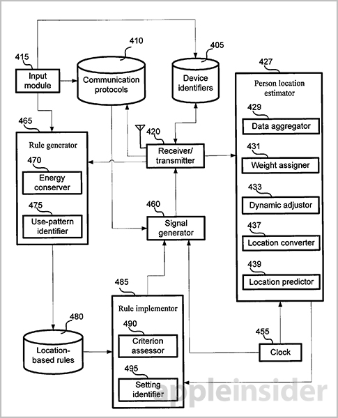
Il brevetto, chiamato “System and method of determining location of wireless communication devices/persons for controlling/adjusting operation of devices based on the location” (N° 8.577.392), descrive un sistema che utilizza i dati raccolti da dispositivi statici e mobili, attraverso la tecnologia di comunicazione wireless, per determinare la posizione dell’utente. Sulla base di questi dati raccolti, per esempio, potrebbero essere attivate o disattivate da remoto ed in automatico alcune funzionalità presenti in casa.

La posizione dell’utente verrebbe tracciata grazie ai dispositivi “primari“: computer (effettuando il login), un iPhone (attraverso le coordinate GPS) e molti altri ancora. Questi cosiddetti “primi dispositivi” sono parte integrante del processo di automazione in quanto agiscono come trigger per il controllo dei dispositivi “secondari”, come televisori, luci e altro ancora.
I primi dispositivi hanno il compito di inviare i dati di posizione dell’utente ai server relay, che elaboreranno tali dati e li classificheranno (“casa”, “lavoro”, ecc…). Quando una predeterminata condizione sarà soddisfatta, i server invieranno un segnale ai dispositivi “secondari” in modo da attivare alcune specifiche funzioni. Ad esempio, se un utente si trova sulla strada verso casa, il sistema accenderà le luci esterne quando l’utente si starà avvicinando.
Mentre i dispositivi “primari” potranno comunicare solo in modalità wireless, gli altri potranno essere collegati ad un sistema generico centralizzato tramite USB o altri mezzi fisici. Occorre notare, però, che sarà richiesto un particolare protocollo di comunicazione, sia esso Wi-Fi o Ethernet, per connettersi con i server relay.
Già lo scorso mese vi avevamo parlato dell’ ingresso di Apple nel mercato della domotica, ed questo è finalmente un primo passo concreto in questa direzione.
Via | Appleinsider
- Filtra:
- Tutte
- Apple
- Minimo Storico
- Alimentari e cura della casa
- Amazon
- Auto e moto
- Bellezza
- Cancelleria e prodotti per ufficio
- Casa e cucina
- Commercio
- Dispositivi amazon
- Dispositivi amazon & accessori
- Elettronica
- Fai da te
- Giardino e giardinaggio
- Giochi e giocattoli
- Grandi elettrodomestici
- Igiene dentale
- Illuminazione
- Informatica
- Moda
- Prima infanzia
- Prodotti per animali domestici
- Salute e cura della persona
- Sport e tempo libero
- Strumenti musicali
- Videogiochi













































































































































































































































































































































































































































































































































































































































































































































































Leggi o Aggiungi Commenti